Toyota Corolla (E120): Replacement
Hint
: components:
1. Remove radiator grille sub–assy
2. Remove front bumper cover
3. Remove lh headlamp assy

- Remove the 3 bolts.
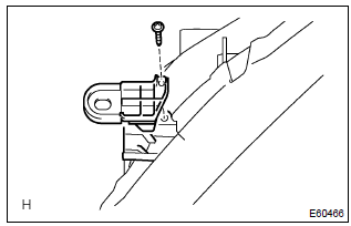
- pull out the headlight assy lh forward, then disconnect the bracket of body side.

- Release the claws and disconnect the connectors as shown in the illustration, and remove the headlight assy lh.
4. Install retainer, headlamp protector, upr lh
Hint: when only the installation part of the headlight assy lh is damaged, it can be repaired inexpensively by using a headlight protector retainer upr lh. In this case, however, the headlight assy lh itself should not be damaged.

- Cut off the part shaded in the illustration and sand smooth with sandpaper.
Notice
: after cutting off the part roughly, place the headlight protector retainer upr lh against the bosses and gradually file any interfering part until the proper condition for installation is made.

- Install the headlight protector retainer upr lh with 2 screws.
5. Install retainer, headlamp protector, lwr lh

- Cut off the part shaded in the illustration and sand smooth with sandpaper.
Notice
: after cutting off the part roughly, place the headlight protector retainer lwr lh against the bosses and gradually file any interfering part until the proper condition for installation is made.

- Install the headlight protector retainer lwr lh with a screw.
6. Put vehicle these conditions
7. Adjust fog light aim
8. Headlight aim only
Other materials:
Inspection procedure
Hint:
hand–held tester only:
narrowing down the trouble area is possible by performing ”a/f control” active
test (heated oxygen
sensor or other trouble areas can be distinguished).
Perform active test using hand–held tester (a/f control).
Hint:
”a/f control” is the active te ...
Continuously variable transmission
(vehicles with paddle shift
switches)
Select the shift position
depending on your purpose
and situation.
Shift position purpose
and functions
P - Parking the vehicle/
starting the engine
R - Reversing
N - Neutral
(Condition in which the
power is not transmitted)
D - Normal driving*
M - 10-speed sport sequential
shiftmatic mode driving
* ...
Seat belt warning lamp for driver’s seat does not
operate
Wiring diagram
Inspection procedure
1 Check combination meter assy
Ground terminal c9–12 on the combination meter side.
check that the warning lightlights up.
Ok: warning light lights up.
2 Inspect front seat inner belt assy lh
Disconnect the front seat inner belt ...


