Toyota Corolla (E120) 2002–2008 Repair Manual / Steering column / Steering system / On–vehicle inspection
Toyota Corolla (E120): On–vehicle inspection
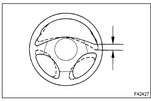
1. Check steering wheel freeplay

- Stop the vehicle and face the tires straight ahead.
- rock the steering wheel gently up and down by your
hand, check the steering wheel freeplay.
Maximum freeplay: 30 mm (1.18 In.)
Other materials:
Child restraint system
fixed with an ISOFIX lower
anchorage (for Puerto
Rico)
■ ISOFIX lower anchorages
(ISOFIX child restraint system)
Lower anchorages are provided
for the outboard rear seats.
(Marks displaying the location of
the anchorages are attached to
the seats.)
■ When installing in the rear
outboard seats
Install the child restraint system
in accordance to the ...
When stopping the engine with the shift lever in a position other than P (vehicles
with a continuously variable transmission)
If the engine is stopped with the shift lever in a position other than P, the
engine switch will not be turned off but instead be turned to ACCESSORY mode. Perform
the following procedure to turn the switch off:
1 Check that the parking brake is set.
2 Shift the shift lever to P.
► Vehi ...
Adjustment
1. Put vehicle these conditions
tire inflation pressure is the specified value .
start the engine.
2. Adjust fog light aim
The fog light aim can be adjusting by moving the aiming
screw in the vertical direction.
Hint:
the optical aim moves upward when turning a scr ...


