Toyota Corolla (E120): Inspection procedure
1 Inspect transmission wire(sl)

- Disconnect the transmission wire connector from the transaxle.
- measure the resistance according to the value(s) in the table below.
Standard:



2 Check harness and connector(transmission wire – ecm)

- Connect the transmission wire connector.
- disconnect the ecm connector.
- measure the resistance according to the value(s) in the table below.
Standard:



Replace ecm
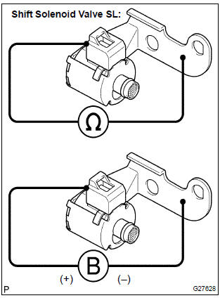
3 Inspect shift solenoid valve(sl)

- Remove the shift solenoid valve sl.
- measure the resistance according to the value(s) in the table below.
Standard:

- Connect the positive (+) battery lead to the solenoid connector terminal, and the negative (–) battery lead to the solenoid body for checking the solenoid valve operation.
Standard: the solenoid valve makes an operating noise.


Repair or replace transmission wire
Other materials:
Adjustment
1. Inspect park/neutral position switch assy
apply the parking brake and turn the ignition switch on.
depress the brake pedal and check that the engine starts only when
the shift lever is set in n or p position
and it does not start in the other position.
check that th ...
Diagnostic trouble code chart
Terms
Terms
Physical address
Three–digit code (shown in hexadecimal) which is given to each
component comprising
the avc–lan.
Corresponding to the function, individual symbols are specified.
Logical address
Two–digit code (shown in hexadeci ...
Installing tire pressure
warning valves and transmitters
(vehicles with a
tire pressure warning system)
When replacing tires or wheels,
tire pressure warning valves and transmitters must also be
installed.
When new tire pressure warning
valves and transmitters are
installed, new ID codes must be
registered in the tire pressure
warning computer and the tire
pressure warning system must
be initialized. ...


